Ríomhphost Linn
Táirgí
Comhla Solenoid 3V2 3 Bealach
  • Comhla Solenoid 3V2 3 BealachComhla Solenoid 3V2 3 Bealach
  • Comhla Solenoid 3V2 3 BealachComhla Solenoid 3V2 3 Bealach

Comhla Solenoid 3V2 3 Bealach

Seo a leanas réamhrá ar chomhla solanóideach 3V2 3 bhealach, tá súil ag OLK cabhrú leat tuiscint níos fearr a fháil ar chomhla solanóideach 3V2 3 bhealach. Fáilte roimh chustaiméirí nua agus sean chun leanúint ar aghaidh ag comhoibriú linn chun todhchaí níos fearr a chruthú le chéile!

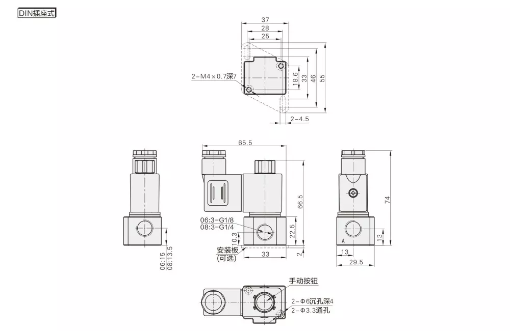
Tá an comhla solenoid 3V2 beag, éadrom, agus éasca le suiteáil. Tá a chorp déanta as alúmanam láidir, a chuireann in aghaidh meirge agus damáiste. Úsáideann an comhla corna solenoid iontaofa le roghanna le haghaidh cumhachta DC12V, DC24V, AC110V, nó AC220V.

Oibríonn an comhla solenoid branda OLK 3V2 seo go maith le haghaidh rialú aeir meán-sreafa. Aistríonn sé go tapa, úsáideann sé beagán cumhachta, agus maireann sé ar feadh i bhfad. Is féidir é a dhúnadh de ghnáth (NC), de ghnáth oscailte (NÍL), nó solenoid dhúbailte. Is minic a úsáidtear é i línte uathoibrithe, meaisíní pacáistithe, meaisíní priontála, agus meaisíní bia. Déanann a mhéid beag foirfe do spásanna daingean.

Comhla solenoid 3V2 3 bhealach Táirgí tréith

Struchtúr 1.Direct-gníomhú di le lascadh íogair.

2.Normally dúnta (NC) agus de ghnáth oscailte (NÍL) cineálacha ar fáil.

Dearadh stoptha 3.Coaxial le haghaidh dea-shéalaithe agus sreabhadh mór.

4.Ní gá lubrication.

5.Equipped le sárú láimhe le haghaidh suiteáil agus tástáil éasca.

Roghanna voltas caighdeánach 6.Multiple ar fáil.

Siombail comhla 3V2 :

Cód ordú

3V

2

-

08

NC

A

 

 

 

Múnla

Cód

 

 Méid an phoirt

Cineál aisteoireachta

Voltas caighdeánach

Iontráil leictreach

Cineál snáithe

 

3V:2 seasamh 3 bhealach

2:2 sraith

 

06:G1/8

NC: dúnta de ghnáth

A: AC220V

Bán: DO chineál

Bán: G

 

 

 

 

08:G1/4

NÍL: osclaítear go hiondúil

B: DC24V

I: Cineál líne

T:NPT

 

 

 

 

 

 

Bán: G

 

 

 

 

 

 

 

 

E: AC24V

 

 

 

 

 

 

 

 

F: DC12V

 

 

 


Múnla

3V206

3V208

Meán Oibre

Aer (scagtha le scagaire 40 μm nó os a chionn)

Aer (scagtha le scagaire 40 μm nó os a chionn)

Cineál Gníomhach

Gníomhú Díreach

Méid an Phoirt

G1/8

G1/4

Seasamh & Bealach

2 phost 3 bhealach

Réimse Éifeachtach

3.2 mm²(Cv = 0.18)

3.4 mm² (Cv = 0.19)

Bealadh

Ní gá

Raon Brú Oibriúcháin

0 ~ 0.8 MPa (0 ~ 114 psi)

Brú Cruthúnas

1.5 MPa (215 psi)

Teocht Oibriúcháin (℃)

-20 ~ 70

Ábhar Coirp

Cóimhiotal Alúmanam

 

Voltas caighdeánach

AC220V AC110 AC24V  DC24V  DC12V

Raon Voltas

AC: ± 15% DC : ± 10%

Tomhaltas Cumhachta

AC: 7VA DC: 7.0W

Aicme Cosanta

IP65(DIN40050)

Grád Insliú

Leibhéal B

Cineál Ceangail

Cineál breiseán DIN/Cineál Líne

Min.Excitation Am

0.05 Soic


Níl.

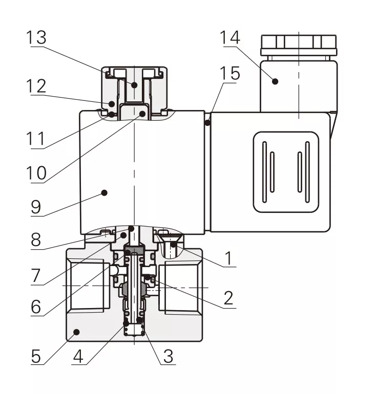
Ainm

1

Scriú Countersunk

2

Muinchille Spacer

3

Comhthionól Croí

4

Earraigh

5

Corp

6

Gasket

7

Tionól Solenoid

8

Slat Pluiméir

9

Coil

10

Croí Iarainn Bogadh

11

Washer Seasta

12

Cnó Seasta

13

Cnaipe Lámhleabhar

14

Teirminéal

15

Gasket Teirminéal


Mír

3V1-M5/3V1-06

2V025-06/2V025-08

Bealadh

3V3-08

Meán Oibre

Aer

Aer, Uisce, Ola

Aer

Aer

IP65(DIN40050)

NC

NC/UIMH

NÍL/NC

NÍL/NC

Cineál Gníomhachtaithe

Gníomhú Díreach

Gníomhú Díreach

Gníomhú Díreach

Gníomhú Díreach

Méid an Phoirt

M5;G1/8

G1/8;G1/4

G1/8;G1/4

G1/4

Seasamh & Bealach

3 Poirt 2 Seasamh

2 Port 2 Seasamh

3 Poirt 2 Seasamh

3 Poirt 2 Seasamh

Bealadh

Ní theastaíonn

Ní theastaíonn

Ní theastaíonn

Ní theastaíonn

Brú Oibre

0–0.7 MPa

0–0.7 MPa

0–0.8 MPa

0–0.8 MPa

Brú Cruthúnas

1.2 MPa

1.5 MPa

1.2 MPa

1.2 MPa

Méid Orifice

φ1.2 mm

φ2.5 mm

Φ3.2 mm/φ3.4 mm

Φ11 mm (sreabhadh mór aeir)


CCanna:

C: Cad é an difríocht is mó idir comhla solenoid 3V2 agus 3V3?

A: 3V2: sreabhadh lár, oireann do chóras rialaithe aeroibrithe beag

3V3: sreabhadh ard, oireann do shorcóirí iolracha nó feidhmeanna ard-sreafa.

Difríocht struchtúir: Tá comhlacht níos mó ag 3V3 agus is féidir le brú agus sreabhadh níos airde a láimhseáil.


C: Cad é méid orifice comhla solenoid 3V2?

A: Is é 3.2mm méid orifice comhla 3V2-06; Is é méid orificice comhla 3V2-06 ná 3.4mm


C: Cé na táirgí is féidir a chur in ionad OLK 3V2?

A: Is féidir le OLK 3V2 comhlaí solenoid sraith AIRTAC 3V2 a athsholáthar leis an bhfeidhm chéanna agus sonraíochtaí comhchosúla.


Hot Tags: Comhla Solenoid 3V2 3 Bealach, an tSín, Monaróir, Soláthraí, Monarcha
Seol Fiosrúchán
Eolas teagmhála
Fáilte go dtí ár suíomh Gréasáin! Le haghaidh fiosrúcháin faoi ár dtáirgí nó ár pricelist, le do thoil fág do r-phost chugainn agus beidh muid i dteagmháil laistigh de 24 uair an chloig.
R-phost
cici@olkptc.com
Soghluaiste
+86-13736765213
Seoladh
Bóthar Zhengtai, Crios Tionscail Xinguang, Liushi, Yueqing, Wenzhou, Zhejiang, an tSín.
X
Úsáidimid fianáin chun eispéireas brabhsála níos fearr a thairiscint duit, chun anailís a dhéanamh ar thrácht an tsuímh agus chun inneachar a phearsantú. Trí úsáid a bhaint as an suíomh seo, aontaíonn tú lenár n-úsáid a bhaint as fianáin. Beartas Príobháideachta
Diúltaigh Glac